
AMD:n tuleva CDNA2-arkkitehtuuri on yhtiölle monella tapaa merkittävä. Se on ollut osa yhtiön pääsylippua Yhdysvaltain energiahallinnon tehokkaimpiin supertietokoneisiin ja huhujen mukaan myös se olisi myös yhtiön ensimmäinen useammasta sirusta rakentuva laskentapiiri.
Nyt huhuille voidaan pistää stoppi, sillä AMD on itse varmistanut Linux-päivitysketjussa tulevan Aldebaran-koodinimellisen laskentakortin sisältävän pääsirun ja sekundäärisen sirun. Päivitys koskee tarkemmin laskentapiirin tehonkulutustietoja, jotka ovat tällä haavaa tuettuja vain pääsirun osalta. Samalla yhtiö varoittaa konfiguroimasta piirin tehonkulutusrajoja kakkossirulla.
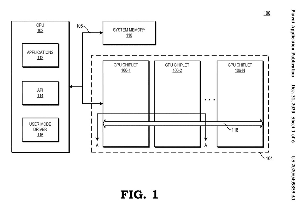
Joillain verkkosivuilla on spekuloitu kahden sirun vaativan kaverikseen erillisen I/O-sirun prosessoreista tuttuun tyyliin. AMD:n useamman sirun GPU:ta, joihin laskentapiiritkin lasketaan, koskevissa patenteissa kuvataan kuitenkin selkeästi, että pääsiru hoitaa kommunikaation prosessorin kanssa ja kakkossiru (ja muut mahdollisissa tulevissa useamman sirun konfiguraatioissa) puolestaan pääsirun kanssa. Itse sirut ovat kuitenkin kaikin puolin identtisiä keskenään. Jokaisella sirulla on oma L3-välimuistinsa ja muistiohjaimensa, mutta sirujen välinen kommunikaatiolinja on sijoitettu sen ja L2-välimuistin väliin.
AMD on varmistanut hiljattain pidetyssä JPMorganin teknologiakonferenssissa, että CDNA2-arkkitehtuuri julkaistaan kuluvan vuoden aikana.
Lähteet: Freedesktop, Hardware.info


katso liitettä 623704